PRISE DE FORCE (PTO)

PRISE DE FORCE (PTO)

Code Produit: AKN-SPS-UUR

Détails Techniques

Code produitAKN-SPS-UUR2400AKN-SPS-UUR3005
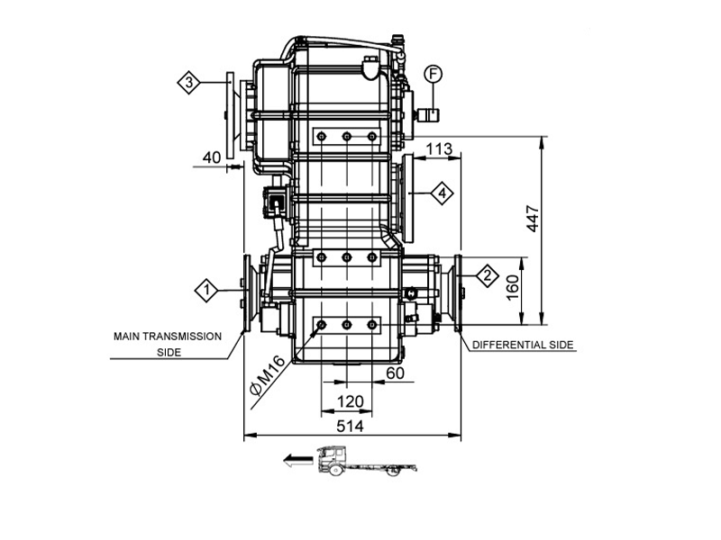
Sortie-1FlangeFlange
Sortie-2Flangex
PositionHorizontalVertical
Sortie HydrauliqueISOISO
Commande pneumatiqueOuiOuı
Poids195 kg250 kg
Type d'huileATFATF
Ratio1,31-1,25

Détails du Produit

ARBRE DIVISÉ À DOUBLE SORTIE - UUR2400 CODE DE PRODUIT : AKN-SPS-U24

ARBRE DIVISÉ À SORTIE UNIQUE - UUR3000 CODE DE PRODUIT : AKN-SPS-U30

Ce PTO à arbre divisé est monté sur l'arbre d'entraînement des camions pour donner la puissance à l'équipement souhaité. UUR 2400 est un PTO à arbre fendu automatique. L'huile ATF automatique PTO doit être utilisée. La transition se fait par des disques en acier et en bronze pour garantir ce processus séparément par une ou deux applications. L'arbre de transmission du véhicule doit être au repos lorsque les sorties sont engagées ou désengagées. Les valeurs ci-dessous seraient garanties si l'arbre fendu droit était monté sur le véhicule approprié.

Formulaire de Contact

Please check all fields and try again.
Your request has been submitted.